您好 ,  欢迎来到59598晟江工业品 登录后可利用更多便捷功能 会员中心  | 新会员注册 [退出]
  • 已选总价:¥0.00
  • 已选数量:0
所有费用均已包含增值税,不含运费。运费详情请参阅运费指导书。
产品详情与编号
序号 产品编号 名称 Packaging unit Height - H Thread - M 售价 订购数量
  全部
全部
全部
全部
全部
   
1.0 2172050 Slide connector MSG-L 1,2 M8/M10 Packaging unit 10 pc Height - H 27 mm Thread - M M8. M10 ¥337.50
注:本公司对上述参数保有最终解释权,如若变动,恕不通知。
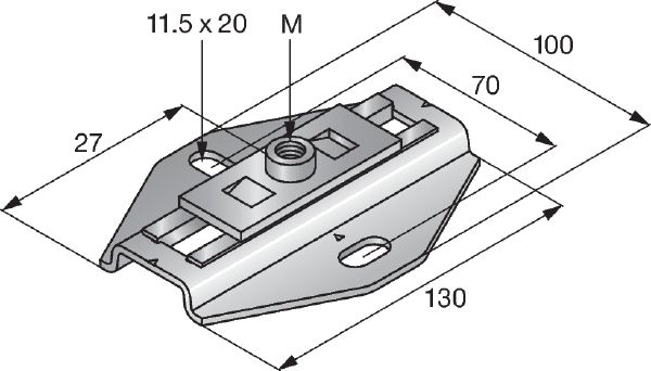
MSG 1.2 NEW MSG 1.2 NEW Thread - M: M8, M10 Height - H: 27 mm Maximum load - F: 1.2 kN Features & Applications Features Suitable for installation on ceilings or floors Designed for use with the Hilti range of pipe rings Resistant to temperatures up to 130° C Low height Designed for use with the Hilti MP range of pipe rings Applications Installing pipes subject to thermal linear expansion Recommended for pipes up to DN 80

Technical Data

IS_MSG_1_2_0001_APC_fv600
Thread - M
M8, M10
Height - H
27 mm
Maximum load - F
1.2 kN
Material composition
S275JR - EN 10025
Surface finish
Galvanized
Temperature resistance
-40 - 130 °C
Base material type
Concrete
Max. displacement
60 mm
Coefficient of sliding friction
0.1
Weight
0.37 kg
Copyright ©2012 SME Corporation All Rights Reserved
ICP备案证书号:沪ICP备10013497号-1··上海工商
ɽҵƷ|ٽͷ|ҵ|ܳ|DZ